建一个属于自己的网站-Linux服务器
Linux以其出色的稳定性,可靠性和兼容性而著称。
它能够长时间运行而无需频繁重启,
特别适合需要连续运行的环境,如服务器。
配置较低的设备也能轻松运行linux。
本教程就来讲讲Linux服务器如何搭建网站。
本教程适合会简单操作linux服务器版的同学。第一步 准备
部署服务器,购买域名,进行备案是必不可少的准备,具体详情步骤可以参照Win服务器教程中的第①②③步。唯一注意的是服务器要选择linux类系统(centos,ubantu)。
阿里云等大企还会提供预装应用服务。这里我推荐安装宝塔面板。如果没有预装选项可以查看第三步操作。
第二步 在你的电脑上安装终端
在你的个人电脑上安装Finalshell软件。这款软件可以为Linux用户提供远程SSH连接,并且为以后的操作提供便利和解救措施。
安装完成之后,打开Finalshell,点击文件夹图标打开连接管理器,点击左上角的白色背景的加号图标,选择SSH连接(Linux)。
在新建连接界面中,填写服务器的IP地址,用户名和密码。这些信息服务器商都会提供。
连接成功后会出现如下所示
第三步 安装宝塔面板
注意:如果你的服务器已经自带宝塔面板,请在终端输入“bt 14”即可获得面板地址及账号密码,并开放所要求的端口(前往服务商处添加安全组规则)。请跳过此步骤。
首先前往宝塔官网复制安装命令脚本,然后将脚本粘贴至终端输入框并回车。
如果出现 ‘检查到当前非root权限进行面板安装’ ,可以复制下方给出的命令继续安装。
若提示输入用户密码,输入密码。
一直到提示Do you want to install Bt-Panel to the /www directory now? (是否安装宝塔面板?)按 y 然后回车
安装时间从2分钟到10分钟不等,根据你的服务器带宽速度决定。安装完成后,系统会提供你的面板地址及账号密码,并要求你开放指定的服务器安全组端口。
第四步 登录宝塔面板并部署站点
登录宝塔面板
登录并且阅读完用户协议后,登录宝塔账号,没有的可以注册一个(阿里云服务器是可以直接登录阿里云账号的)
登录之后会提示安装套件,可以安装LNAP(推荐)或者LAMP二选一。
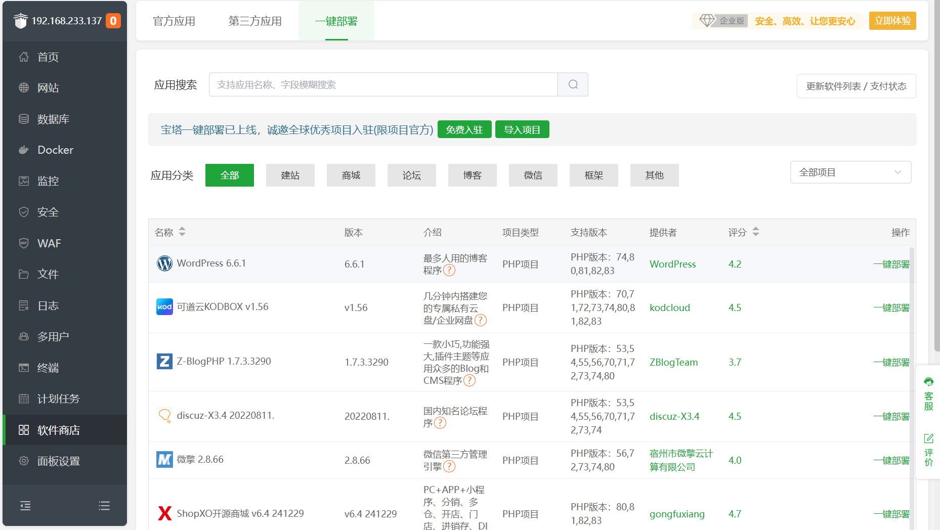
等待套件全部安装完成,打开右下角的软件商店,然后点击上方的一键部署,就可以看到很多能够一键部署的应用。
个人推荐Z-BlogPHP,既免费可拓展性也很强。其他也可选WordPress,Emlog Pro等应用。接下来本教程将会部署Z-BlogPHP。
选择Z-BlogPHP进行一键部署,只需要填写之前准备的已解析的域名即可,然后提交。
创建完成,系统会提供管理员账号密码。访问站点成功就代表站点搭建成功!创建站点后需要尽快修改管理员账号及密码!



网站运行不易·求打赏QAQ
